Einführung
Die Teilnahme an einer großen RC-Segel-Veranstaltung ist eine kostspielige Angelegenheit. Abgesehen von den Kosten für Boot und Startgeld sollten wir an die kostbaren Urlaubstage, die Reisezeit, die Unterkunft, die Verpflegung und so weiter denken. Die Entscheidung an einer großen Veranstaltung teilzunehmen wird einen großen Batzen Geld und nicht unerheblichen Zeitaufwand verschlingen und es ist nur logisch, dass wir dabei möglichst viel Freude und Erfolg erreichen möchten. Ohne diesen Vorsatz riskieren wir mit dem Ergebnis unzufrieden zu sein oder noch schlimmer, wir schieben die Schuld auf das Wetter, die Wettfahrtleitung, die Beobachter, die anderen Segler also in der Tat auf niemanden außer uns selbst.
Was als Erfolg zählt, mag von Segler zu Segler unterschiedlich sein. Für einige mag es nicht weniger als der Sieg, für andere mag es ein Platz unter den Top 10 sein. Für die meisten wird ein besserer Platz als beim letzten Mal wunderbar sein und möglicherweise ein realistischeres Ziel. Unabhängig davon was für den einzelnen einen Erfolg darstellt, gibt es eine Anzahl einfacher Kontrollen, die sie durchführen können um sicherzustellen, dass es möglich ist ihr Boot jederzeit auf die zu erwartenden Bedingungen einzustellen. Dann sind sie in der Lage sich vor Ort auf das Trimmen der Segel und steuern des Bootes zu konzentrieren anstatt ständig über die fehlende Geschwindigkeit nachzudenken.
Die Kontrollen werden in zwei Kategorien unterteilt: Geometrie und Oberflächen. Jede Kategorie hat mehrere Abschnitte die dann Stück für Stück abgehakt werden können.
Geometrie
Ausrichtung der Flosse
Die Ausrichtung der Flosse ist ohne entsprechende Vorrichtung schwer zu prüfen. Die optische Prüfung der Ausrichtung zwischen Rumpf und Flosse genügt hier nicht. Man kann davon ausgehen, dass ein Fehler von 0,5 Grad bereits einen gravierenden Fehler darstellt. Schon die Hälfte davon führt zu deutlich unterschiedlichem Verhalten von Bug zu Bug.
In der SAILSetc Werkstatt verwenden wir dafür eine spezielle Vorrichtung die für die meisten unserer Boote/Flossen passt sie können jedoch eine Vorrichtung wie in Abbildung 1 dargestellt aus 6 mm MDF oder 4 mm Sperrholz ganz leicht selbst herstellen.
Entfernen sie, wenn möglich, den Ballast und stellen sie das Boot für diese Prüfung mit der Flosse nach oben gut abgestützt auf. Abbildung 2. Achten sie darauf die vordere und hintere Kante der Flosse nicht zu beschädigen, wenn sie die Schablone auf der Flosse platzieren. Legen sie einen Streifen Klebeband unter das Senkblei am Rumpf und am Heck und richten sie den Rumpf so aus, dass das hintere Lot direkt auf die Mittellinie des Rumpfes zeigt. Markieren sie auf dem vorderen Streifen die Position des Lotes. Drehen sie nun die Schablone um 180° und richten sie den Rumpf wieder auf die Mittellinie aus. Markieren sie erneut die Position des vorderen Lotes. Wenn die Schablone, die sie gemacht haben, absolut symmetrisch ist werden sich die beiden Markierungen decken. Wahrscheinlich wird es einen kleinen Unterschied geben. In diesem Fall nehmen sie die Mitte zwischen beiden Marken und messen den Abstand zur Mittellinie des Rumpfes.
Nehmen wir an der Abstand beträgt 7 mm und der Abstand zwischen vorderem und hinterem Klebstreifen beträgt 1180 mm. Der Winkelversatz beträgt damit 7 x 57,3 / 1180 = 0,34 Grad. Um die Flosse richtig auszurichten müssen sie den Sitz der Flosse im Schwertkasten durch Abnahme bzw. Zugabe von Material auf der einen bzw. anderen Seite anpassen. Die genaue Kenntnis über den Fehler wird uns bei der Beseitigung helfen. Messen sie die Dicke der Vorderkante der Flosse beim Austritt aus dem Schwertkasten (mit einer Schieblehre oder einem Mikrometer) und die Länge der Flosse an dieser Stelle. Angenommen die ermittelten Maße sind 7,3 mm x 110 mm. Um die Ausrichtung der Flosse um 0,34 Grad zu korrigieren, müssen sie 0,34 x 100 / 57,3 = 0,6 mm von einer Seite der Vorderkante abnehmen und auf der anderen Seite auftragen. Also schleifen sie auf einer Seite passend zum Schwertkasten bis die Dicke 7,3 - 0,6 = 6,7 mm beträgt und bekleben sie die andere Seite mit Klebeband bis wir wieder eine Dicke von 7,3 mm haben.
Setzen sie die Flosse erneut ein und wiederholen sie die Messung bis keine Abweichung mehr besteht.
Mast Ausrichtung
Damit das Boot auf jedem Bug gleich segelt, sollte der Mast ohne Wind in den Segeln senkrecht ausgerichtet sein. Dies fördert auch das leichte öffnen der Segel, wenn es nur sehr wenig Wind gibt.
Setzen sie das Boot mit allen normalen RC-Komponenten beladen an einer windgeschützten Stelle ein. Wenn die Riggs Wanten haben, muss dieser Test für jedes Rigg wiederholt werden. Wenn es sich um Swing-Riggs oder wantenlose Riggs handelt, müssen sie nur testen ob die Mastaufnahme senkrecht steht. Dafür können sie einen Dummy-Mast verwenden.
In jedem Fall machen sie eine Lotlinie auf das Deck und hängen ein Senklot vom Maste ab (mindestens 1m über Deck) so dass es etwa 10 mm über dem Deck schwebt. Nehmen sie einen Plastikbecher und schneiden sie davon den oberen Rand ab, so dass etwa 50 mm stehen bleiben. Füllen sie den Becher mit 40 mm Wasser und setzen sie ihn so auf das Deck, dass das Senklot im Wasser hängt und sich frei bewegen kann. Das Wasser dämpft die Schwingungen des Senklots und macht so das Ablesen der Abweichung leichter. Lassen sie das Boot frei schwimmen und notieren sie die Abweichung von der Mittellinie.
Wenn das Rigg Wanten hat, ist es leicht den Mast senkrecht auszurichten. Fixieren sie anschließend die Wantenspanner mit den Kontermuttern.
Wenn die Riggs Swing-Riggs oder wantenlose Riggs sind, können sie versuchen den Winkel zwischen Rumpf und Flosse zu verändern, um den Mast senkrecht auszurichten. Verändern sie hierzu die Position der Flosse am oberen Ende. Wenn dies nicht möglich ist, müssen sie sich eine andere Strategie überlegen.
In der gleichen Weise, wie die Berechnung der Korrektur der Flosse erfolgte, können wir auch die Korrektur der Flosse zum Rumpf für die Mastausrichtung berechnen. Wenn die Abweichung zur Mittellinie 9 mm an einer Lotleine von 950 mm ergab und der Schwertkasten 120 mm hoch ist, beträgt die seitliche Korrektur der Flosse 120 x 9/950 = 1,1 mm. SAILSetc Boote werden mit 10 mm breiten Schwertkästen und einer 10 mm Schraube in der Flosse welche an dieser Stelle etwa 7 mm dick ist ausgerüstet. Dies ermöglicht die Ausrichtung der Flosse an dieser Stelle wie gewünscht.
Mittellinie / Symmetrie
Die Platzierung der anderen Beschläge kann ebenfalls Auswirkung auf das Verhalten des Bootes bei wechselndem Bug haben. Überprüfen sie die genaue mittige Positionierung des Holepunkts der Großschot- bzw. Fockschot. Die Ermittlung der genauen Mittellinie kann sich als schwierig erweisen. Im Zweifel verwenden sie die gleiche Mittellinie, wie für die Ausrichtung der Flosse.
Der Holepunkt der Großschot sollte ebenfalls auf seine senkrechte Ausrichtung hin überprüft werden.
Als weitere Verfeinerung prüfen sie den Ausschlag des Fockbaums nach beiden Seiten. Richten sie hierzu das Boot und die Segel entsprechend einem Kurs mit dichtgeholten Segeln aus. Messen sie den Abstand des hinteren Endes des Fockbaums zum Mast auf jedem Bug und vergleichen sie die Werte. Differenzen können durch Fehler in der Schotführung oder der Befestigung am Baum erzeugt werden. Überprüfen und beseitigen sie Fehler bis die beiden Ausschläge gleich sind.
Ausrichtung des Bleigewichts
Es ist üblich die Mittelleine des Bleigewichts am vorderen Ende relativ zur Wasserlinie 2 Grad ansteigen zu lassen. Wenn das Boot hart vor dem Wind segelt, ist es klar dass der Bug durch den Hebel am Segel vor allem in den Böen nach unten gedrückt wird, bis die Bootsgeschwindigkeit zunimmt und das Boot zum Gleiten übergeht. Das Anstellen des Bleigewicht hilft den Wiederstand bei der kritischen Geschwindigkeit zu verringern, verhindert das Tauchen des Bootes und erleichtert den Übergang zum Gleiten des Bootes.
Weniger bekannt ist, dass das Bleigewicht beim Segeln hart am Wind damit ebenfalls besser zur Wasserlinie ausgerichtet wird. Als Ergebnis gibt es weniger seitliche Abdrift und es kann mit weniger Ruderbewegungen gesegelt werden.
Für die meisten Boote wird ein Neigungswinkel von 2 Grad optimal sein. Mehr kann für breitere und höhere Boote sinnvoll sein und umgekehrt genauso. Wenn sie das Boot für starke Winde optimieren möchten, können es bis zu 4 Grad sein. Für Leichtwind kann es 0 bis 1 Grad sein.
Bitte beachten sie, dass diese Änderung nicht während einer Regatta durchgeführt werden darf, da dies RRS 51 verletzen würde.
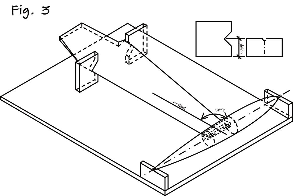
Natürlich müssen Flosse und Bleigewicht auch in Längsrichtung korrekt ausgerichtet werden. Sobald die Flosse korrekt mit dem Rumpf ausgerichtet wurde, genügt eine visuelle Kontrolle, dass Bleigewicht und Rumpf ebenfalls korrekt aufeinander ausgerichtet sind. Wenn die Ausrichtung nicht stimmt, können sie hierfür die Vorrichtung aus Abbildung 3 verwenden.
Ruderausschlag
Wenn das Boot richtig geriggt und getrimmt wurde, sollten sie hart am Wind nur minimale Ruderbewegungen benötigen, um es auf Kurs zu halten. Unterschiedliche Boote, Segel, Wind und Steuermänner mögen einen Einfluss auf den genauen Betrag haben, aber es sollte nie mehr als wenige Grad sein. Selbst für das Wenden des Bootes sollten unter normalen Bedingungen nicht mehr als 5 Grad notwendig sein, um die Wende einzuleiten und nur wenig mehr um es durch den Wind zu bringen. Wenn sie jedoch einen Strafkringel durchführen, schnell wenden um einem Wegerecht Boot, das aus dem Nichts auftaucht auszuweichen oder schnelle Wenden machen, um das Boot vor dem Start zu verlangsamen, benötigen sie wesentlich mehr Ruderausschlag.
Ziel ist es einen Ruderausschlag von 55 Grad zur Mittellinie auf jeder Seite zu erhalten. Mit einem Servo, das auf jeder Seite 45 Grad macht, bedeutet dies einen 15% längeren Arm als auf dem Ruder sowie besondere Beachtung der Servo Ruderverbindung wie im nächsten Abschnitt beschrieben.
Ruder / Servo Verbindung
Es ist wichtig Servohebel, Verbindungsgestänge und Ruderhebel genau auszuführen, um die gewünschten 55 Grad Ausschlag in beiden Richtungen gleich zu erhalten.
Egal, wo das Servo installiert wurde, sollten die Länge des Verbindungsgestänges und der Abstand zwischen Ruder/Servo Achse genau gleich sein. Mit Ruder und Servo in der neutralen Position sollen der Servohebel und das Verbindungsgestänge rechtwinklig zueinander stehen.
Ruder – weiteres
Wenn es ihnen gelungen ist, den Ausschlag von 55 Grad zu beiden Seiten der Mittelseite zu realisieren, gibt ein paar andere Dinge die getan werden sollten, um spezielle Probleme am Ruder zu verhindern.
Wenn das Ruder bei einer Kollision getroffen wird, kann es sein, dass die Achse relativ zum Ruderhebel verdreht wird. Bei einer Kollision kann es überhaupt zu enormen Spannungskräften kommen. Nun wird es zumindest schwer sein für den Rest des Laufes richtig zu segeln. Eventuell müssen sie das Boot sogar aus dem Rennen nehmen. Wenn die Kollision ihr Fehler war, werden sie keine Wiedergutmachung erhalten. Verhindern sie das Verdrehen des Ruders, indem sie unter der Feststellschraube auf der Achse eine Flachstelle anschleifen, die das Ruder beim Anziehen der Schraube ausrichtet. Damit wird verhindert, dass sich das Ruder verstellt. Der Nachteil dabei ist, dass das Ruder nun abbrechen könnte oder das Servo beschädigt wird. Allerdings ist mir das noch nie passiert.
Bei einer Kollision oder, wenn die Winkel zu Spitz gewählt wurden, kann es ebenso passieren, dass das Rudergestänge auf die falsche Seite durchschlägt oder sperrt. Verhindern sie dies mit einer einstellbaren Schnur, welche die Servo Ruder Verbindug vor dem Durchschlagen hält. Siehe Abbildung 4.
Oberflächen
Rumpf
Eine glänzende Oberfläche des Rumpfes sieht ordentlich aus ist aber eventuell hydrodynamisch gar nicht glatt. Der Grund ist, dass obwohl keine Mikrokratzer vorhanden sind, eventuell Störungen im größeren Maßstab vorhanden sind, die den Fluss stören.
Ein älterer Rumpf (Flosse oder Ruder) kann die Struktur der Verstärkungsfasern an der Oberfläche durchdringen lassen. Dies geschieht durch überhöhte Temperaturen und hier besonders wahrscheinlich bei dunklen Booten.
Sie können eine hydrodynamisch glatte Oberfläche durch Schleifen mit Papier der Körnung 600 nass oder trocken erreichen. Verwenden sie dabei Klebeband um die Wasserlinie abzugrenzen (es macht wenig Sinn Energie in die Oberseite zu stecken, es sei denn das Aussehen ist entscheidend) und verwenden sie einen kleinen Block aus Kunststoff, um das Schleifpapier zu führen.
Es macht wahrscheinlich wenig Sinn mit feinerer Körnung als 600 zu schleifen, aber wenn sie daran interessiert sind, verwenden sie nacheinander 800er, 1000er und 1200er an den vorderen 50% von Flosse, Rumpf und Ruder priorisiert in dieser Reihenfolge.
Dies können sie wiederholen, auch wenn das Laminat beginnt durch das Gelcoat zu scheinen. Wenden sie kein Wachs oder andere Oberflächenbehandlungen an, um die Reibung zu vermindern – die einzig wirksamen Mittel werden durch die RRS 53 verboten. Die allgemein erhältlichen Polituren zur Reduzierung des Reibungswiederstandes werden nur die Wahrscheinlichkeit erhöhen, dass ihr Boot aus ihrer Hand gleitet.
Flosse & Ruder
Die Flosse kann in gleicher Weise wie der Rumpf behandelt werden, aber wegen des geringen Profils ist es wichtig eine bestmögliches Oberfläche zu erzielen. Rechnen sie mit mehr Aufwand (pro Flächeneinheit) um mit feinerer Körnung die Kratzer, die sie mit gröberer Körnung erzeugt haben, zu beseitigen.
Bei SAILSetc machen wir uns die Arbeit leichter, indem wir die Flosse nach dem Schleifen mit 800er Papier mit schnell trocknendem Zaponlack behandeln. Tragen sie mehrere dünne Schichten auf und lassen sie es gut trocknen, bevor sie mit 1200er Papier weiter schleifen. Schleifen sie bis etwa 50% der ursprünglichen Oberfläche durchscheinen. An dieser Stelle wieder mehrere Schichten Lack und wiederholen.
Streben sie an, die ganze Oberfläche der Flosse mit einer möglichst dünnen Schicht der Farbe zu bedecken und stören sie sich nicht, wenn an manchen Stellen das Laminat durch die Farbe scheint.
Achten sie darauf, dass die Vorderkante der Flosse einen Radius behält und die Hinterkante an der dicksten Stelle 0,5 mm nicht überschreitet.
Bleigewicht
Wenn das Gewicht demontierbar ist, lohnt es sich zu kontrollieren, ob die Befestigung hält und nicht wackelt.
Schleifen sie die Oberfläche wie zuvor beschrieben, aber verwenden sie zum Halten des Papiers ein Stück Schaumstoff, welches der Oberfläche besser folgt.
Segel
Profil
Die meisten Segel halten ihre Form für Jahre, aber es können große Schäden durch Überdehnung des Vorlieks am Großsegel verursacht werden. Dies geschieht häufig, wenn Segel bei nassen Bedingungen eingesetzt werden und anschließend in der Sonne liegen oder in einem trockenen Haus gelagert werden. Wenn Segel nass werden, nehmen sie Feuchtigkeit auf und dehnen sich ein wenig. Es bilden sich Falten am Vorliek und der Besitzer wird dem mit mehr Spannung durch das Anziehen des Vorlieks entgegen wirken. Wenn danach die Sonne scheint oder die Segel in einem trockenen Haus gelagert werden, trocknen sie wieder aus und werden ein wenig schrumpfen, was die Spannung im Vorliek noch erhöht. Das Ergebnis ist ein dauerhaft gedehntes Vorliek, was zu verstärktem Schlag auf dem einen und vermindertem Schlag auf dem anderen Bug führt. Diese Segel können dann nur noch ersetzt werden.
Glatte Oberfläche
Es scheint klar, dass glatte Segel schneller sind als faltige Segel. Vorausgesetzt die Falten sind nicht zu tief hat sich gezeigt, dass der Nachteil im Großsegel nicht allzu groß ist. Der Grund hierfür ist, dass der Mast, selbst wenn er tropfenförmig ist, als massiver Wirbel an der Vorderkante des Großsegels wirkt und damit der Luftstrom am Segel bereits turbulent ist. Für turbulente Strömungen ist die zulässige Rauhheit der Oberfläche recht groß. Es könnte zum Beispiel 1 mm bei 3 Knoten Windgeschwindigkeit sein. Die mögliche Rauhheit der Oberfläche halbiert sich mit der Verdoppelung der Geschwindigkeit. So beträgt sie nur noch 0,25 mm bei 12 Knoten, was immer noch groß ist in Bezug auf Runzeln und Falten in unserem Segel.
Es ist wichtiger, dass das Vorsegel Falten und Runzel frei ist, da hier die Strömung laminar anliegen kann. Aus dem gleichen Grund sollten Nähte an diesem Segel vermieden werden.
Segelnummern
Die Wettfahrtbestimmungen enthalten Regelungen für die Platzierung von Segelnummern auf den Segeln. Die Überprüfung der Einhaltung dieser Regeln ist nicht Teil der Vermessung und daher sind sie selbst für die Platzierung verantwortlich. Die Größe der Nummern ist vorgeschrieben und es ist wichtig dies auch einzuhalten. Allerdings müssen sie auch lesbar sein. Ersetzen sie alle schlecht lesbaren Nummern und achten sie auf Platz für die führende „1“, da sie gebeten werden eine solche zu verwenden, wenn zwei Boote mit der gleichen Nummer unterwegs sind.
Wenn es mehr als zwei Boote mit der gleichen Segelnummer gibt, ist es üblich das dritte Boot zu bitten eine „2“ der Nummer voranzustellen. Da die Regeln nur Platz für eine „1“ vorschreiben wird die 2 zwangsläufig zu eng platziert und unleserlich. Wenn die Wettfahrtleitung vorhat dies zu verlangen, ist es besser vorzuschlagen die Nummer ganz zu wechseln. Möglicherweise müssen sie nur eine Ziffer ändern, um Eindeutigkeit an Der Startlinie und bei Protesten zu garantieren.
Bei internationalen Veranstaltungen (ein internationales Event ist jedes das so bezeichnet wird) müssen sie auch die Nationalitätskennzeichen anwenden.



